GM sunroof automation - success/beware
Printed From: the12volt.com
Forum Name: Car Security and Convenience
Forum Discription: Car Alarms, Keyless Entries, Remote Starters, Immobilizer Bypasses, Sensors, Door Locks, Window Modules, Heated Mirrors, Heated Seats, etc.
URL: https://www.the12volt.com/installbay/forum_posts.asp?tid=18150
Printed Date: April 18, 2026 at 3:28 AM
Topic: GM sunroof automation - success/beware
Posted By: utc13
Subject: GM sunroof automation - success/beware
Date Posted: August 27, 2003 at 8:46 AM
For anyone out there who wants to automate their sunroof with a DEI 529T or 530T... if you have a GM vehicle with the same type of sunroof as me (2001 2DR Blazer) please beware. The roof does not operate like normal windows... it has normal open and close, but also has a vent feature. Because of this the roof uses a limit switch oriented Positioning Encoding System (PES) to determine when to engage and disengage the motor. The PES uses 5-volt logic voltage to ‘read’ the limit switches and determine the roof’s position. Therefore a module such as the 530T (which uses current spikes as its reference) will not work. The possibility is likely to really mess up your sunroof if you try to use a 530T type module (such as knocking it off track, stripping the worm gear, skewing the alignment, etc.)... so please be careful.
Despite this problem I still wanted to automate my sunroof, so I developed a simple circuit (with a Darlington optoisolator at it’s core) that is able to detect and read the 5-volt reference from the limit switches. I use this circuit’s output to activate other relays to do what I want when I want (such as close when armed, 1-touch close, etc.). If anyone is attempting to do what I did just let me know and I will post a diagram of this circuit and how it works. Maybe it will help you as it did me. With just 2 of these circuits, a couple standard relays, and a few pulse timed relays I was able to duplicate EVERY automation feature that the DEI 530T would have given me. Its been a lot of frustrating work but the results are well worth it.
Also, if anyone is interested, I learned all about the sunroof’s structure and PES system from AllData.com (there is a subscription fee, but there is a LOT of information there if you really need info, diagrams, schematics, etc from your specific vehicle). It has paid for itself already by far. I’d recommend it to anyone.
Replies:
Posted By: mj239air
Date Posted: August 27, 2003 at 9:57 AM
I would love to see how you did this. I have a 2000 Suburban and want to add this to my sunroof and was afraid to use the 530t due to all the problems I hear about on here. If you could post a diagram I would greatly appreciate it.
Posted By: xetmes
Date Posted: August 27, 2003 at 11:49 AM
if you woldnt mind posting it, it sounds interesting thats why i would like to see it 
Posted By: mj239air
Date Posted: August 27, 2003 at 1:30 PM
xetemes - i am surprised you didn't think this one up yourself. haha
Posted By: utc13
Date Posted: August 28, 2003 at 7:36 AM
OK, I'll try to whip up a diagram and post it today.
Posted By: cpgoose
Date Posted: August 29, 2003 at 5:54 AM
There shouldn't be any problem using a 530t on a sunroof that doesn't have vent, though, right? I just have normal open and close, and would like to put a 530t on it. (not a 529t because I want the 1-touch feature).
Nice work utc13....talk about getting what you want  ------------- Q: What's the best nation in the world?
A: Donation! Donate to the12volt.com
Posted By: utc13
Date Posted: August 29, 2003 at 9:37 AM
cpgoose,
Be careful... you must first figure out how your sunroof works. Even without vent my sunroof still wouldn't work with a 530T (some others might but I wasn't so lucky). Normal windows have a top and bottom that they hit and the motor current then spikes which the 530T detects and shuts the motor down. My sunroof hits no such spikes... the limit switches tell the motor when to turn off. I'm embarassed to say that I learned this the hard way. I hooked a 530T up to mine and when first opening it opened well past the normal fully open point, which slipped a few teeth on the worm gear. I had to rip out the whole sunroof assembly and realign it. You really don't want that to happen to you. I'm scanning my circuit diagram now so I should have it posted in a few minutes.
Posted By: cpgoose
Date Posted: August 29, 2003 at 10:50 AM
Hmmm, then how would I know if this is going to work? My car is a '92, so I don't think it has anything real "fancy" to it. If I hold the switch when the sunroof is fully opened or closed, I can hear the motor still trying to continue. I figured the 530t would see a spike when the sunroof shut or opened all the way, like the windows do. ------------- Q: What's the best nation in the world?
A: Donation! Donate to the12volt.com
Posted By: utc13
Date Posted: August 29, 2003 at 10:53 AM
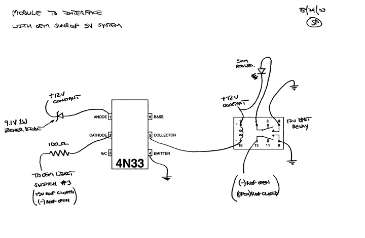
I built this circuit on a small piece of pc board and covered it in 1" shrink wrap. It is simply used to interface with the 5V reference voltage in my sunroof’s factory setup. For example, the reference lead to limit switch #3 reads +5V when the roof is fully closed and reads ground anywhere in the open position... therefore this circuit taps right into that lead. The relay activates when the roof is open and gives me an 'output' from pin13... in my setup this output is ground. I use this output to drive other relays to get what I want. Since I’m using an optoisolator the 2 circuits remain electrically isolated. The circuit consists of the following components: -Darlington optoisolator (4N33) -9.1V Zener diode -100 ohm resistor -12V DPDT relay -5mm LED (red) -fuse (not shown) The optoisolator is a simple integrated circuit that has an internal LED across pins 1 and 2. The low-current 5V reference from my vehicle is enough to light this LED. The other half of the 4N33 is a photosensor which detects when the internal LED is lit. Therefore the 4N33 is ideal for use in detecting when the 5V reference changes from +5V to ground or vice-versa. In my setup, the double-pole double-throw (DPDT) relay activates when my sunroof is in the open position (i.e. when the limit switch #3 lead goes from +5V to ground). I put an external LED on the second pole of the relay so I would know when the relay activates. This is obviously optional. If you don’t need this then a SPDT relay could be used. That’s all I have time for now. Have a great holiday!  
Posted By: xetmes
Date Posted: August 29, 2003 at 8:07 PM
Hey i like it, complete with fuse and all. Only thing i would say is to put a diode across the relay terminals to extend the life of the transistor. What made you choose an optoisolator? I usually like using such devices but most people dont want to be bothered with any type of integrated curcuits. I really like how well you placed it and wrapped it in shrink wrap. Im not really sure why the zener diode is there? I must be missing something...?
Posted By: utc13
Date Posted: September 03, 2003 at 10:01 AM
Sorry about the delay... holiday weekend and all. I chose an optoisolator on my uncle's recommendation. It was the only thing he could think of that would be able to "read" such a low-current reference voltage of the limit switches. The Zener diode is used to drop the 12V input down a little so when the roof is closed (i.e. limit switch changes to +5V) the difference in potential would be small enough not to light the internal LED of the 4N33... which is what I wanted.
|